- 世博体育app下载记者今天从最能手民法院获悉:当今-世博APP下载(官方)网站/网页版登录入口/手机
- 近期,已满12周岁不悦14周岁未成年东说念主杀东说念主、重伤害积恶根究措置的研讨,激发平淡阵势。记者今天从最能手民法院获悉:当今,东说念主民法院共审结此类案件4...

洁好意思科技(002859)4月23日泄漏2024年一季报。2024年第一季度,公司已毕交易总收入3.63亿元,同比增长17.87%;归母净利润5331.05万元,同比增长69.19%;扣非净利润5273.75万元,同比增长70.39%;办法作为产生的现款流量净额为8345.42万元,同比下跌15.81%;通告期内,洁好意思科技基本每股收益为0.12元,加权平均净金钱收益率为1.79%。


2024年第一季度,公司毛利率为39.22%,同比上涨6.81个百分点;净利率为14.68%,较上年同时上涨4.46个百分点。

数据涌现,2024年第一季度公司加权平均净金钱收益率为1.79%,较上年同时增长0.66个百分点;公司2024年第一季度干与老本呈报率为1.20%,较上年同时增长0.46个百分点。

2024年第一季度,公司办法作为现款流净额为8345.42万元,同比下跌15.81%;筹资作为现款流净额2.06亿元,同比增多3.66亿元;投资作为现款流净额-1.07亿元,上年同时为-1.92亿元。

2024年第一季度,公司交易收入现款比为123.73%,净现比为156.54%。

金钱要紧变化方面,甘休2024年一季度末,公司货币资金较上年末增多31.67%,占公司总金钱比重上涨3.00个百分点;固定金钱较上年末减少0.52%,占公司总金钱比重下跌2.06个百分点;应收账款较上年末减少9.29%,占公司总金钱比重下跌1.22个百分点;其他非流动金钱较上年末增多267.73%,占公司总金钱比重上涨0.80个百分点。

欠债要紧变化方面,甘休2024年一季度末,公司恒久借债较上年末增多43.65%,占公司总金钱比重上涨4.49个百分点;顶住账款较上年末减少26.65%,占公司总金钱比重下跌1.67个百分点;顶住员工薪酬较上年末减少46.38%,占公司总金钱比重下跌0.44个百分点;租出欠债较上年末增多398.63%,占公司总金钱比重上涨0.24个百分点。

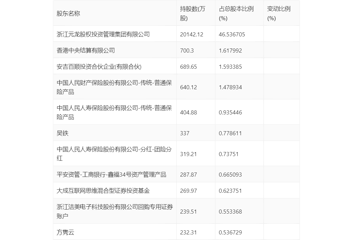
一季报涌现,2024年一季度末公司十大畅达鼓吹中,新进鼓吹为中国东谈主民东谈主寿保障股份有限公司-分成-团险分成、大成互联网想维搀杂型证券投资基金、浙江洁好意思电子科技股份有限公司回购专用证券账户。在具体捏股比例上,香港中央结算有限公司、中国东谈主民财产保障股份有限公司-传统-庸碌保障居品、中国东谈主民东谈主寿保障股份有限公司-传统-庸碌保障居品、吴铁捏股有所上涨,吉利资管-工商银行-鑫福34号金钱惩处居品捏股有所下跌。

筹码集中度方面,甘休2024年一季度末,公司鼓吹总户数为1.62万户,较上年末增长了748户,增幅4.83%;户均捏股市值由上年末的69.76万元下跌至57.61万元,降幅为17.42%。
著述开始:中国证券报·中证网著述作家:杨宁
原标题:洁好意思科技:2024年第一季度净利润5331.05万元 同比增长69.19%世博体育(中国)官方网站
]article_adlist--> 股市回暖,抄底炒股先开户!智能定投、条目单、个股雷达……送给你>>
海量资讯、精确解读,尽在新浪财经APP
