- 世博体育app下载记者今天从最能手民法院获悉:当今-世博APP下载(官方)网站/网页版登录入口/手机
- 近期,已满12周岁不悦14周岁未成年东说念主杀东说念主、重伤害积恶根究措置的研讨,激发平淡阵势。记者今天从最能手民法院获悉:当今,东说念主民法院共审结此类案件4...

塔牌集团(002233)4月23日线路2024年一季报。2024年第一季度,公司达成买卖总收入9.93亿元,同比下跌24.38%;归母净利润1.49亿元,同比下跌36.07%;扣非净利润1.17亿元,同比下跌17.31%;观点步履产生的现款流量净额为195.63万元,同比下跌99.21%;陈诉期内,塔牌集团基本每股收益为0.13元,加权平均净钞票收益率为1.24%。


2024年第一季度,公司毛利率为24.53%,同比飞腾1.28个百分点;净利率为15.34%,较上年同时下跌2.44个百分点。

数据败露,2024年第一季度公司加权平均净钞票收益率为1.24%,较上年同时下跌0.80个百分点;公司2024年第一季度插足成本报恩率为1.18%,较上年同时下跌0.80个百分点。

2024年第一季度,公司观点步履现款流净额为195.63万元,同比下跌99.21%;筹资步履现款流净额3322.65万元,同比增多2153.99万元;投资步履现款流净额7.53亿元,上年同时为1.41亿元。

2024年第一季度,公司买卖收入现款比为110.04%,净现比为1.31%。

钞票首要变化方面,放置2024年一季度末,公司货币资金较上年末增多56.17%,占公司总钞票比重飞腾6.25个百分点;走动性金融钞票较上年末减少15.47%,占公司总钞票比重下跌3.63个百分点;一年内到期的非流动钞票较上年末减少22.05%,占公司总钞票比重下跌1.38个百分点;其他流动钞票较上年末减少29.96%,占公司总钞票比重下跌0.99个百分点。

欠债首要变化方面,放置2024年一季度末,公司支吾员工薪酬较上年末减少79.75%,占公司总钞票比重下跌0.81个百分点;支吾账款较上年末减少8.17%,占公司总钞票比重下跌0.35个百分点;公约欠债较上年末减少18.52%,占公司总钞票比重下跌0.24个百分点;应交税费较上年末减少13.91%,占公司总钞票比重下跌0.13个百分点。

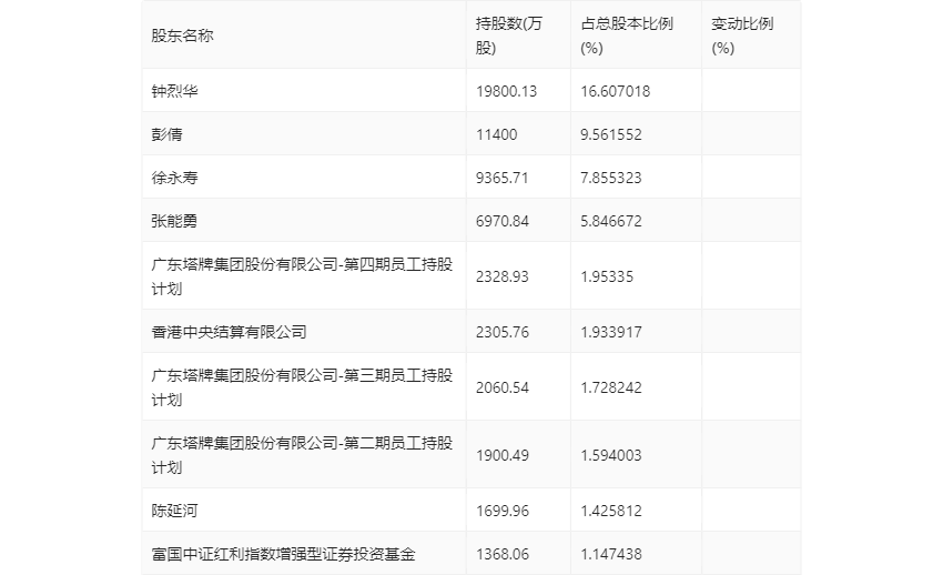
一季报败露,2024年一季度末的公司十大运动鼓励中,新进鼓励为陈延河,取代了上年末的景顺长城中证红利低波动100走动型洞开式指数证券投资基金。在具体抓股比例上,富国中证红利指数增强型证券投资基金抓股有所飞腾,香港中央结算有限公司抓股有所下跌。

筹码集合度方面,放置2024年一季度末,公司鼓励总户数为5.73万户,较上年末下跌了1504户,降幅2.56%;户均抓股市值由上年末的14.35万元飞腾至15.43万元,增幅为7.53%。
著作开始:中国证券报·中证网著作作家:沈楠
原标题:塔牌集团:2024年第一季度净利润1.49亿元 同比下跌36.07%世博shibo登录入口
]article_adlist--> 股市回暖,抄底炒股先开户!智能定投、要求单、个股雷达……送给你>>
海量资讯、精确解读,尽在新浪财经APP
